
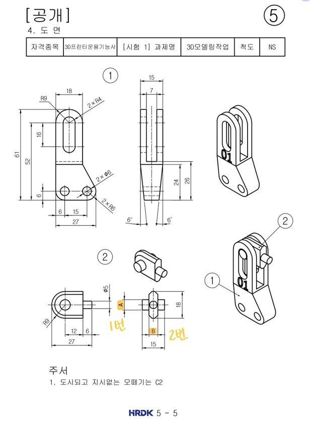
1. 지난 게시물에 이어서 ②번 부품을 만들어보자. 도면을 받으면 가장 먼저 해야 할 일은 수험자가 임의로 결정해야 하는 치수 A와 B를 결정하는 것이다. 지난 시간에 A는 7mm, B는 6mm로 정하였었다. 정해놓은 치수에 따라 ②번 부품을 모델링하면 된다.
2. ①번 부품을 만들때와 마찬가지로 Front view 화면에서 커브를 그리는 것이 좋다. 먼저 만들어둔 ①번 부품은 '개체 숨기기' 명령을 사용하여 숨겨놓아도 되고, '개체 잠금' 명령을 사용하여 선택되지 않게 잠궈 놓아도 된다. 여기에서는 숨겨놓도록 하겠다.

3. Front view 화면에 가로 27mm, 세로 18mm인 직사각형을 그린다. 커브는 모두 이 안쪽에 들어가게 그리면 된다.



4. '원: 지름' 명령을 사용하여 지름이 18mm인 원을 그린다. '개체 스냅'에 '중심점' 항목을 체크해놓았다면, 커서를 원둘레를 따라 움직였을 때 중심점이 나타난다. '원: 중심점, 반지름' 명령을 사용하여 지름 7mm인 원을 그린다.


5. '직사각형: 모서리에서 모서리로' 명령을 사용하여 세로 18mm, 가로 12mm인 직사각형을 그린다. 이때 18mm 원의 사분점을 기준으로하여 그린다.


6. 필요없는 커브는 정리해 준다. 정리가 필요한 커브를 선택한 뒤, '트림' 명령을 사용하여 커브를 삭제한다. 삭제한 뒤에는 '결합' 명령을 사용하여 열려있는 커브를 닫아준다.



7. Front view 화면에서 커브를 선택한 뒤, Right view 화면에서 '닫힌 평면형 커브 돌출' 명령을 사용하여 6mm 두께로 돌출시킨다. 6mm라는 치수는 수험자가 임의로 정해야 하는 B에서 온 것이다.



8. 지름 7mm인 원 커브를 클릭한 후 Right view 화면에서 '닫힌 평면형 커브 돌출' 명령을 이용하여 15mm 너비로 돌출한다. 이때 명령창에 '양쪽' 항목에 '예'를 선택하면 커브를 중심으로 양쪽으로 동일하게 돌출된다.

9. 가로와 세로 선이 교차하는 중심점을 기준으로 지름 5mm의 원을 그린다.


10. Front view 화면으로 돌아가 '닫힌 평면형 커브 돌출' 명령을 사용해 6mm 만큼 돌출시킨다. 맨 처음에 그려놓았던 가로 27mm, 세로 18mm의 기준선 안에 그려주면 된다.


11. 도면을 보면 그림에 모따기에 대한 치수는 나와있지 않다. 하지만 주서를 읽어보면 도시되고 지시 없는 모떼기(모따기)는 C2라고 안내되어있다. 이 기준에 맞춰 모델링하면 된다. '가장자리 모따기' 명령을 사용한다. 명령창에 2를 입력한 뒤 모따기할 가장자리를 모두 클릭한다. Enter를 누르면 모따기 명령이 완료된다.

12. '부울 합집합' 명령을 사용하여 하나로 합쳐준다. 합집합을 하지 않아도 출력은 될 테지만, 자료를 넘기기 전에 커브를 지우고 합집합을 해놓는 습관을 들여서 미래에 나쁠 것이 없다.

이렇게 출력했을 때 서포트를 제거하기 가장 편하고 부러질 위험도 적었다. 표면 품질이 좋지 않은 점이야 감점 대상일 뿐이지만 맞물리는 원형 기둥 부분이 부러지면 바로 탈락이다. 표면품질을 조금 포기하더라도 안전하게 출력하는 편이 좋다.
▷다른 공개도면 연습하기◁
3D프린터운용기능사 공개도면 1번 만들어보기 - ①
1. 모델링을 하기에 앞서, 상호 움직임이 발생하는 부위의 치수를 먼저 정해놓아야한다. 1번(A), 2번(B)의 치수는 수험자가 결정해야하는데 시험지에는 해당부위의 기준치수와의 차이를 ±1mm라고
informationyouneed.effettoblog.com
3D프린터운용기능사 공개도면 2번 만들어보기 - ①
1. 모델링하는 시간을 단축시키고 싶다면 무작정 도면을 그릴 것이 아니라 어디부터 시작할지 잘 살펴봐야한다. 허둥대다가 도면을 다시 그려야 한다면 오히려 시간에서 큰 손해이다. 우선 3D프
informationyouneed.effettoblog.com
3D프린터운용기능사 공개도면 3번 만들어보기 - ①
1. 벌써 여러 번 반복해서 말하고 있지만 시험 도면을 잘 살펴보는 것은 몇 번을 강조해도 지나치지 않을 정도로 중요하다. 도면을 받으면 제일 먼저 수험자가 임의로 결정해야 하는 치수 1번(A)
informationyouneed.effettoblog.com
3D프린터운용기능사 공개도면 4번 만들어보기 - ①
1. 4번 도면은 디테일이 많은 편이라 방심하면 자잘한 실수들이 생길 수 있다. 그럴수록 도면을 열심히 들여다보고 어느 방향에서 커브를 그릴지 고민을 해봐야 한다. 2. 커브를 어떻게 나누어 그
informationyouneed.effettoblog.com
'3D프린터운용기능사 실기시험' 카테고리의 다른 글
| 3D프린터운용기능사 공개도면 6번 만들어보기 - ② (0) | 2023.08.29 |
|---|---|
| 3D프린터운용기능사 공개도면 6번 만들어보기 - ① (0) | 2023.08.29 |
| 3D프린터운용기능사 공개도면 5번 만들어보기 - ① (0) | 2023.08.28 |
| 3D프린터운용기능사 공개도면 4번 만들어보기 - ② (0) | 2023.07.23 |
| 3D프린터운용기능사 공개도면 4번 만들어보기 - ① (0) | 2023.07.21 |
댓글