
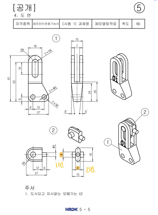
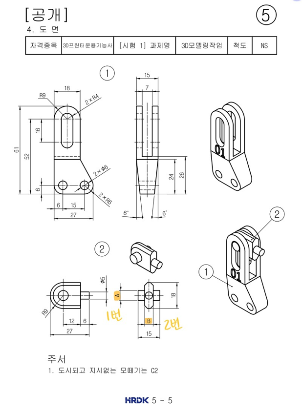
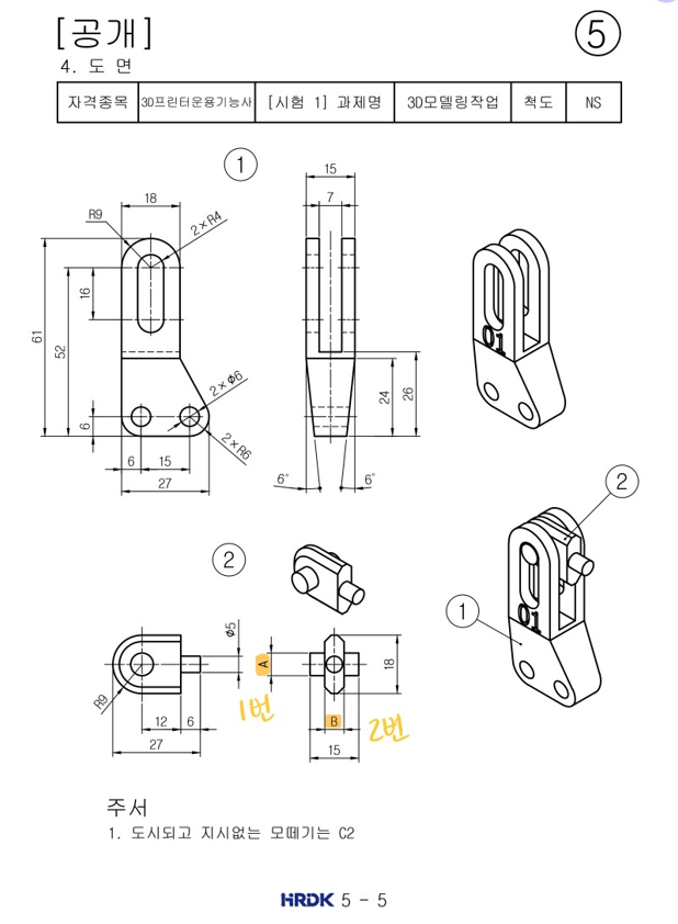
1. 4번 도면에서 부품을 윗부분과 아랫부분으로 나누어 모델링한 것같이 5번 도면도 ①번 부품을 윗부분과 아랫부분으로 각각 나누어 만들 예정이다. 여러 가지 방법이 있으니 무엇이 옳다고 할 수는 없다. 이 방법으로도 연습해 보고 더 익숙한 쪽으로 연습하여 시험에 대비하면 된다.
2. 도면에서 가장 먼저 결정해야 하는 부분은 수험자가 임의로 결정해야 하는 치수 A와 B이다. 보통 3D프린터운용기능사 시험장에 있는 프린터의 품질을 생각했을 때, 공차는 사방 0.5mm를 기본으로 생각하는 것이 좋다. ②번 부품의 치수A가 맞물리는 ①번 부품의 위치를 보자. 너비가 8mm이다. 그럼 사방 0.5mm의 공차를 적용하여 A의 치수는 7mm가 된다.
3. B의 치수를 결정해보자. ②번 부품의 B가 ①번 부품에서 움직일 수 있는 너비는 7mm이다. 공차 0.5mm를 생각하여 B의 치수는 6mm가 된다.

4. ①번 부품을 먼저 만들어보자. 도면을 확대해서 보면 이렇다. 그어놓은 선을 기준으로 윗부분, 아랫부분으로 나누어 설명하겠다.

5. Front view 화면에서 가로 18mm, 세로 37mm인 직사각형을 그려준다. ①번 부품의 윗부분의 가이드라인이다. 윗부분의 커브는 모두 이 직사각형 안에 들어가게 그리면 된다.

6. '원: 중심점, 반지름' 명령을 사용하여 직사각형의 세 면에 접하게 18mm의 원을 그린다. 세 면에 접하게 그리기 어려우면 일단 아무 위치에나 원을 치수대로 그린 후, '이동' 명령을 사용하여 도면에 맞게 위치시켜도 된다.


7. 18mm의 원 중심점에 맞춰 지름 8mm인 원을 하나 더 그린다. 이때 원의 중심점은 '개체 스냅' 항목에서 '중심점' 항목을 선택하면 쉽게 찾을 수 있다. '원: 중심점, 반지름' 명령을 클릭한 후, 원 둘레를 커서로 움직이다 보면 원의 중심점이 잡힌다. 클릭한 후, 지름 8mm인 원을 그린다.

8. 지름 8mm인 원의 중심점부터 길이가 16mm인 보조선을 그린다. 보조선 끝점을 중심으로하는 지름 8mm의 원을 다시 하나 그린다. 원을 그린 후 보조선은 더 이상 사용하지 않으니 지워도 된다.

9. 지름이 8mm인 두 원의 사분점을 꼭짓점으로하는 직사각형을 그린다. 직사각형의 가로는 8mm, 세로는 16mm이다.


10. 커브를 모두 그렸으면 클릭&드래그로 모든 커브를 선택한다. '트림' 명령을 사용하여 불필요한 커브들을 지운다. 다 지우고나면 오른쪽처럼 정리가 된다. 앞으로 돌출 명령을 위해 닫힌 커브가 될 수 있도록 '결합' 명령으로 한 커브로 만들어준다.

11. Front view에서 본 ①번 부품의 윗부분을 다 그렸으면 이제 아랫부분 커브를 그릴 차례이다. 윗부분의 커브와 맞닿게 가로 27mm, 세로 24mm인 직사각형을 그린다. 아랫부분의 모든 커브는 이 안쪽에 그리면 된다.


12. 지름 12mm인 원 두 개를 직사각형의 두 변에 접하게 그린다. 딱맞게 그리기 어려운 경우에는 아무 곳에나 원을 그린 후 '이동' 명령을 사용하여 원을 두 변과 맞닿게 위치시킨다. 그다음 7. 번과 같은 요령으로 원의 중심점을 찾아 지름 6mm인 원 두 개를 그린다.

13. 윗부분 커브의 끝점부터 원의 근처점까지 직선을 그린다. 직선의 길이는 그리는 방법에 따라서 그림에 나와있는 치수보다 다소 길어질 수도 짧아질 수도 있다. 포인트는 원과 겹쳐지는 부분이 없게 적당한 지점에 커브를 그리는 것이다.


14. 클릭&드래그로 아랫부분 커브를 모두 선택한다. '트림' 명령을 사용하여 필요없는 커브들을 지워준다. 그후 '결합' 명령을 사용하여 닫힌 커브로 만들어준다.
15. 여기까지 만들었으면 돌출 명령을 사용하기 전에 치수들이 모두 제대로 그려졌는지 검증한다.



16. 그려놓은 모든 커브를 선택한다. 화면을 Right view로 옮겨 '닫힌 평면형 커브 돌출' 명령을 사용하여 15mm 두께로 돌출한다. 그럼 맨 오른쪽 그림처럼 만들어진다. 만약 뚫려있어야 하는 부분이 닫혀있다면 커브를 클릭해서 커브 유형이 어떤지 확인해야 한다. 그런 경우 커브가 열려있거나 아니면 커브 두 개가 겹쳐있거나 한 경우이다.


17. Right view 화면에서 ①번 부품의 바닥으로부터 높이가 26mm되는 보조선을 그린다. 가로로 26mm가 어느 높이까지인지 그어준다. 그 후에 가로 7mm인 직사각형을 그려주는데, 높이는 36mm 보다 길면 크게 상관이 없다. 이 직사각형은 뒤에 돌출을 하여 차집합을 할 것이다.

18. 그려놓은 직사각형을 ①번 부품의 중심에 가져다놓는다. 보조선을 활용하면 위치 잡기가 쉬워진다.


19. 그려놓은 직사각형을 클릭한 뒤, Front view 화면에서 '닫힌 평면형 커브 돌출' 명령을 사용하여 돌출시킨다. 차집합을 하여 뺄 돌출이기 때문에 ①번 부품의 가로 너비보다 넓기만 하면 치수는 크게 상관없다.



20. '부울 차집합' 명령을 사용한다. '차집합을 사용할 원래 폴리서피스'에 ①번 부품의 윗부분을 선택한 후 Enter, '차집합 계산에 사용할 폴리서피스'에 직사각형 돌출을 선택한다. Enter를 누르면 직사각형 모양만큼이 빠진다.

21. ①번 부품의 아랫부분은 Right view 방향에서 6º만큼 기울여줘야 한다. 다른 방법도 있지만 차집합을 사용하는 방법이 가장 간편하고 빠르다. 우선 차집합에 사용할 직사각형을 그려준다. 직사각형을 기울이면 전체 길이가 짧아지기 때문에 길이를 넉넉하게 잡는 편이 좋다.



22. '2D 회전' 명령을 클릭한다. '회전시킬 개체 선택'에 직사각형을 선택하고, '각도 또는 첫 번째 참조점'은 기울일 직사각형의 직선상의 한 점을 선택한다. 6 º 만큼 기울이면 되니 6을 입력하고 Enter를 누른다.


23. '닫힌 평면형 커브 돌출' 명령을 사용하여 돌출시킨다. 정확하게 치수를 정할 필요는 없다. 차집합을 할 것이기 때문에 치수는 ①번 부품보다 적당히 넓게 잡는다.



24. '미러' 명령을 사용하여 돌출시킨 직사각형을 반대쪽에도 복사한다. '미러 실행할 개체 선택'에 직사각형 돌출을 선택하고, '미러 평면의 시작'을 ①번 부품 중심점에 잡는다. 그럼 중심점을 기준으로 반대편에 돌출이 똑같이 복사된다.



25. '부울 차집합' 명령을 선택하고, '차집합을 계산할 원래 서피스'에 ①번 부품의 아랫부분을 선택한다. '차집합 계산에 사용할 서피스'는 직사각형 돌출 두 개를 선택해 준다. Enter를 누르면 작업이 완료된다.

26. '텍스트 개체' 명령을 사용하여 부여받은 고유번호를 ①번 부품에 음각한다. 글씨체는 아무것이나 상관없으나 시험장의 3D프린터 품질을 고려해 되도록 넓고 두꺼운 글씨체로 고르는 게 좋다. 여기서는 임의의 숫자 01을 넣도록 하겠다.


27. 글씨의 크기를 적절하게 조절한 후, 방향을 확인하고 숫자 커브를 배치한다. 이때 도면을 다시한 번 확인해 올바른 방향으로 배치되었는지 체크한다. 시험장에서 종종 반대 방향에 음각을 하는 경우도 있는데 감점 요인이지만 탈락은 아니므로 너무 동요할 필요는 없다.

28. 음각의 깊이는 1mm 가량이 적당하다.



29. '부울 차집합' 명령을 사용하여 숫자 돌출을 빼준다. '차집합을 계산할 원래 서피스'에 ①번 부품을 선택해 주고, '차집합 계산에 사용할 서피스'에 숫자 돌출을 선택한다. Enter를 누르면 숫자 돌출이 빠지게 된다.

30. 그렸던 커브는 '커브 선택' 명령을 사용하여 지워도 되고, 그냥 남겨두어도 사실 상관은 없다. 커브는 출력에 영향을 미치지 않기 때문이다. 하지만 ②번 부품을 그릴 때 거슬릴 수 있으니 미리 지워두자. 만들어둔 ①번 부품은 윗부분과 아랫부분으로 아직 나뉘어 있으니 '부울 합집합' 명령으로 하나로 합쳐둔다.
▷공개도면 5번 이어서 만들기◁
3D프린터운용기능사 공개도면 5번 만들어보기 - ②
1. 지난 게시물에 이어서 ②번 부품을 만들어보자. 도면을 받으면 가장 먼저 해야 할 일은 수험자가 임의로 결정해야 하는 치수 A와 B를 결정하는 것이다. 지난 시간에 A는 7mm, B는 6mm로 정하였었
informationyouneed.effettoblog.com
▷다른 공개도면 연습하기◁
3D프린터운용기능사 공개도면 4번 만들어보기 - ①
1. 4번 도면은 디테일이 많은 편이라 방심하면 자잘한 실수들이 생길 수 있다. 그럴수록 도면을 열심히 들여다보고 어느 방향에서 커브를 그릴지 고민을 해봐야 한다. 2. 커브를 어떻게 나누어 그
informationyouneed.effettoblog.com
3D프린터운용기능사 공개도면 3번 만들어보기 - ①
1. 벌써 여러 번 반복해서 말하고 있지만 시험 도면을 잘 살펴보는 것은 몇 번을 강조해도 지나치지 않을 정도로 중요하다. 도면을 받으면 제일 먼저 수험자가 임의로 결정해야 하는 치수 1번(A)
informationyouneed.effettoblog.com
3D프린터운용기능사 공개도면 2번 만들어보기 - ①
1. 모델링하는 시간을 단축시키고 싶다면 무작정 도면을 그릴 것이 아니라 어디부터 시작할지 잘 살펴봐야한다. 허둥대다가 도면을 다시 그려야 한다면 오히려 시간에서 큰 손해이다. 우선 3D프
informationyouneed.effettoblog.com
3D프린터운용기능사 공개도면 1번 만들어보기 - ①
1. 모델링을 하기에 앞서, 상호 움직임이 발생하는 부위의 치수를 먼저 정해놓아야한다. 1번(A), 2번(B)의 치수는 수험자가 결정해야하는데 시험지에는 해당부위의 기준치수와의 차이를 ±1mm라고
informationyouneed.effettoblog.com
'3D프린터운용기능사 실기시험' 카테고리의 다른 글
| 3D프린터운용기능사 공개도면 6번 만들어보기 - ① (0) | 2023.08.29 |
|---|---|
| 3D프린터운용기능사 공개도면 5번 만들어보기 - ② (0) | 2023.08.28 |
| 3D프린터운용기능사 공개도면 4번 만들어보기 - ② (0) | 2023.07.23 |
| 3D프린터운용기능사 공개도면 4번 만들어보기 - ① (0) | 2023.07.21 |
| 3D프린터운용기능사 공개도면 3번 만들어보기 - ② (0) | 2023.07.21 |
댓글